13296444375

全站搜索

首页 / bet雷竞技 / 机械的形位公差不要再傻傻分不清楚了
返回

机械的形位公差不要再傻傻分不清楚了

浏览次数:151 分类:bet雷竞技 分类:行业新闻

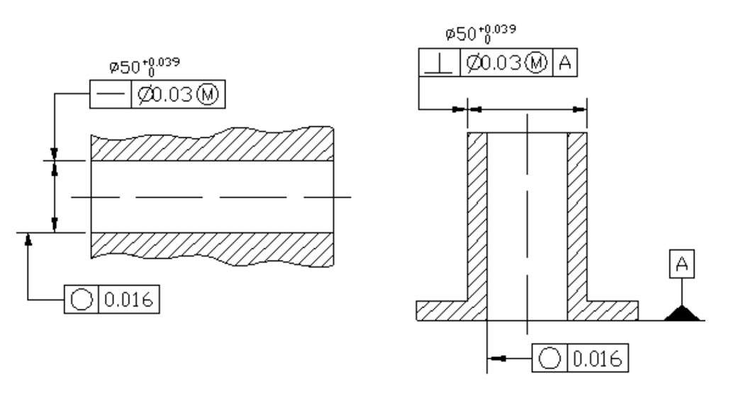
形状公差简单理解就是形状上允许的误差。形状公差只用于描述形状上的误差,比如直线度、平面度、圆度、圆柱度、线轮廓度和面轮廓度这些都是指形状方面的偏差范围,它指的是几何体本身的形状,不需要参考什么基准,所以与基准是没有什么关系的。
8d3290253428cb9956640058ab525299

c8c30a998e735f8807f5143633c2b5bc

我们想一想,直线、平面、圆等这些是不是指本身几何形状呢?如多平?多圆?所以这些形状上的偏差就是形状公差。公众号:solidworks非标机械设计
3794b8526be654b690c18dedffded8bb
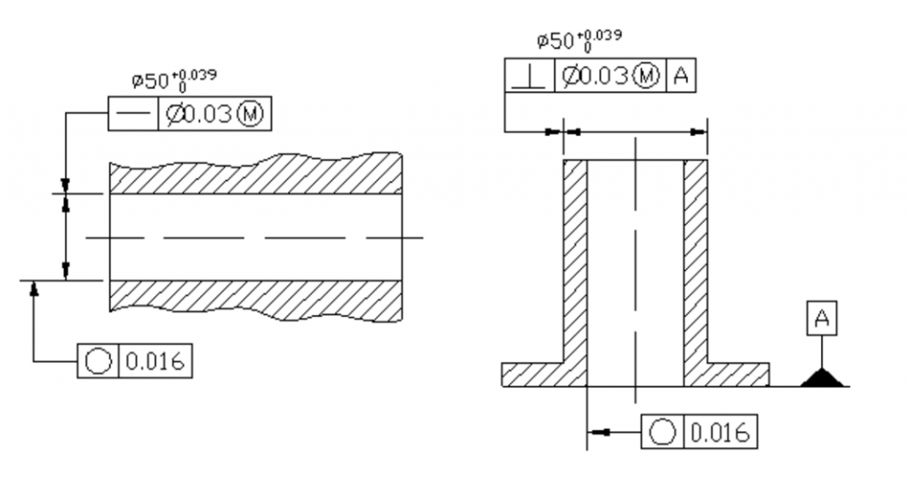
位置公差简单理解就是位置上的允许误差。位置公差包括:平行度、倾斜度、垂直度、位置度、同轴度、对称度、圆跳动、全跳动。既然是位置偏差,那么是不是肯定得有个基准呢?就是相对于谁的位置偏差。“相对于谁”中的“谁”指的就是基准。
7197aa9c894f1623fb983f0c9af83a41
这么一分析就很清楚了,一般位置公差是有基准的。如下图所示,垂直度是位置公差,相对于哪个面垂直呢?答案是相对于A面垂直,那么A面就是一个设立的基准面。圆度是形状公差,指的是圆本身的形状公差,所以是没有什么基准的,不需要相对谁是圆形,它本身就是圆形,不知道这样描述能理解吗?
0127b326b1e78cdbe12405d2383fa366

cbbb68311f6ce1baaf90de65138e25dd

点击取消回复

    分类

    在线客服x

    客服
    顶部 回到顶部
    Baidu
    map